




任推邦是国内一线的APP推广项目分发和流量变现平台,隶属聚名科技集团(国家级高新技术企业、AAA重合同守信用企业,安徽百强企业),任推邦目前是阿里、字节、百度、迅雷、美团等品牌一级用户增长服务商,已入驻各类自媒体达人、地推、网推渠道超50万,2023年发放佣金超过1个亿。
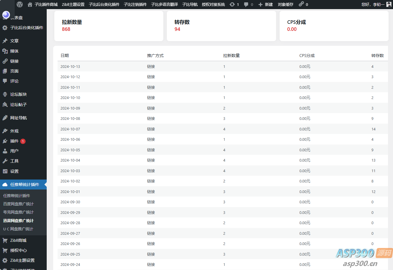
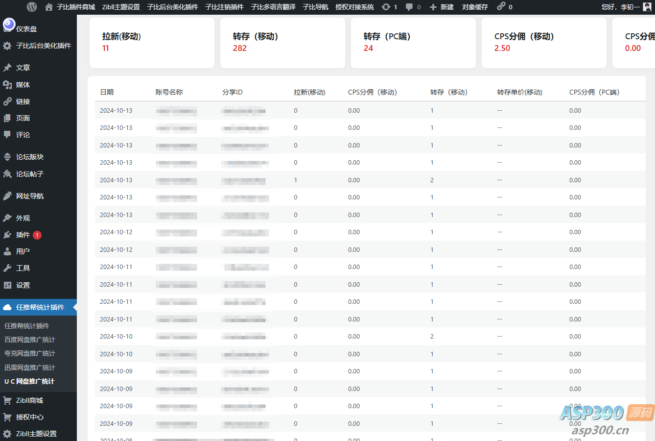
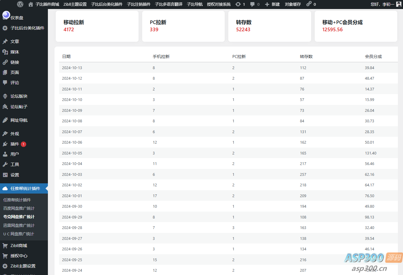
本次特意制作的全wordpress主题通用版本插件,后台填写查询的ID,填上面网盘就引入显示什么网盘的数据页面,不填则无
WordPress任推帮网盘拉新数据统计插件
声明:本站所有资源均来源于互联网收集,仅供学习参考使用,如若本站内容侵犯了原著者的合法权益,可联系我们进行处理。

